美国专利商标局今天公布了苹果全新的专利申请,其中详细描述了高动态范围(HDR)双层液晶显示技术,可以用来降低画面的失真,理论上可以将显示器的对比度提升到1000000:1。这项专利申请的名称是双层高动态范围显示设备和图像的分割,在其中苹果吹捧双层LCD系统的光学益处,特别是再现高对比度图像的能力。
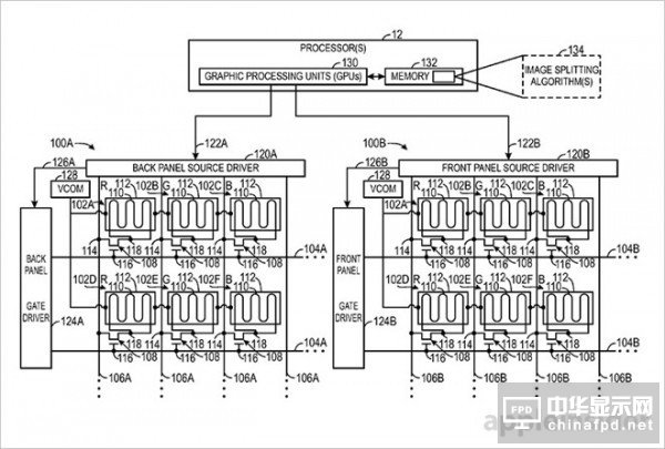
正常的LCD亮度通常可通过增加背光光照来提升,整体对比度通常由于漏光不受影响。苹果表示,通过堆叠两灰度LCD和一个彩色LCD面板,背光到达用户眼中之前要经过双层的LCD调制,导致更高的对比度。但是,多层LCD有一个基本架构问题,因为在某些角度,面板之间的间隙引起视差,这可能导致图像质量降低。
为此,苹果拿出专门的图像分裂算法。该算法分析图像并将其分成正面LCD和背面LCD面板显示的两个独立图像。根据图像内容,硬件限制和其他方面的考虑,该算法模糊传输给背面灰度LCD显示的图像,并且减小尺寸,使用由目标函数布置约束界定的优化方法,苹果这种算法系统能够防止视差而不影响亮度或清晰度。该算法还可以防止削波伪像和光绽放,或光晕出现在前面板上。苹果公司说,该技术可以用在小型和超大屏幕当中,产品覆盖范围从iPhone到Mac。
目前还不清楚苹果是否打算推出采用这项发明的实际产品。



来源: cnBeta
关注我们
公众号:china_tp
微信名称:亚威资讯
显示行业顶级新媒体
扫一扫即可关注我们