据外媒消息,苹果在去年4月份申请的屏幕专利在近日得到曝光,文件显示该专利是一个360°手机曲面屏技术,预示苹果或将采用曲面屏设计。在屏幕创新方面,苹果近年来的表现差强人意。像三星等厂商早已推出曲面屏,苹果迟迟未有应对动作就显得有点迟钝了。

其实,早在2011年,网上就开始有苹果将推出曲面屏的传闻,但是直到2014年才有专利文件证实苹果确实在这方面进行了技术研发。而最近公布的这个专利文件则是对苹果将推出具有曲面屏的iPhone的又一有力证据。

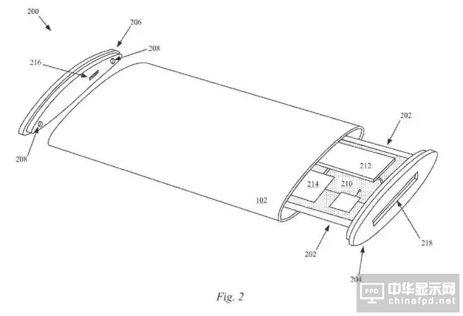
该专利的名称是“环绕屏幕的电子设备”,这意味着iPhone正面、背面和侧面将全部被柔性屏覆盖,其正面没有任何物理按钮,用户只需用手在显示屏旁边悬停一下,就能看到相应音量键等虚拟控制按钮。
虽然此次被公布的专利文件没有透露任何关于屏幕的技术细节,不过我们可以从曝光的图片中看到机身背部并没有后置摄像头,前面也并未配有home键,最有可能的解释是将传感器隐藏在屏幕下方。而且,图片上显示的概念机虽然具有数据传输接口,但是却没有耳机接口。可能这也更加坐实了iPhone7将取消3.5mm耳机接口的消息。

市场上也有许多的手机在背部配备了第二块屏幕,之前普金赠送给习大大的YotaPhone手机就采取了双屏设计。因此,苹果为了适应市场推出双屏手机也不无可能,采取一整块玻璃作为机身外壳的设计看起来也非常酷炫。而且苹果喜欢玻璃,从apple store装修设计中我们就能够看得出来。
不过这只是曝光专利,并不意味这苹果真的将推出曲面双屏手机,此前也有很多曝光的苹果专利最终并没有运用到苹果产品中去。
来源:戴客网
关注我们
公众号:china_tp
微信名称:亚威资讯
显示行业顶级新媒体
扫一扫即可关注我们