根据外媒Cult of Mac的报道,苹果公司已经申请了一项关于玻璃外壳的专利,它很有可能出现在明年的iPhone8手机上。此前有报道称,iPhone8不仅拥有轻薄的机身,同时还非常耐刮,并且支持无线充电。

每一台iPhone都配有一块玻璃显示屏,iPhone4和iPhone 4s还采用了玻璃背板,因此,苹果在十周年的时候推出全玻璃机身的iPhone8并不是完全不可能。
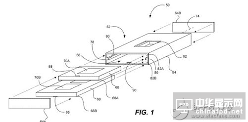
据了解,这项新的专利被称为“玻璃外壳”,它描述的是一个能够容纳智能手机和其他电子产品的玻璃管道。描述文件显示,一块LCD显示屏将会被无缝整合到这个玻璃管道中,两端还配有能够保护内部组件的盖子。
值得一提的是,苹果在这份专利中提到的是LCD显示屏,而不是OLED显示屏。那么,苹果会不会在明年的十周年iPhone机型中搭配OLED显示屏呢?我们可能还需要等上一段时间才能够得出答案。
关注我们
公众号:china_tp
微信名称:亚威资讯
显示行业顶级新媒体
扫一扫即可关注我们